自贡市第四人民医院又添利器-成功开展首例机器人辅助颈椎手术

时间:2023-12-25 浏览量:1984 来源: 作者:邓佳燕

患者安某,因外伤致后颈脊髓损伴高位截瘫收入我院脊柱创伤外科,经放射检查和三维重建发现该患者颈椎明显畸形,常规的颈椎后路长节段减压内固定手术中的后路置入椎弓根螺钉非常困难,极易突破椎弓根,伤及附近血管和神经。

术前颈椎三维重建显示椎体畸形

于是,吴超团队基于患者的颈椎三维模型,模拟置入颈椎椎弓根螺钉,并设计导航模板进行3D打印,术中结合骨科机器人导航,精准置入了颈椎椎椎弓根螺钉。

3D打印颈椎模型和导板

基于3D打印模型规划钉道

机器人联合3D打印导板辅助置入颈椎椎弓根螺钉

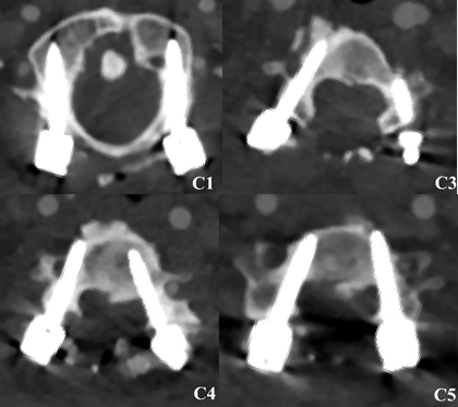
术后患者复查椎弓根螺钉位置安全,与术前设计一致,患者瘫痪症状明显减轻,达到了手术目的。

术后CT显示螺钉位置安全、准确

颈椎后路经椎弓根螺钉置入术长期以来被誉为脊柱外科手术中的“皇冠手术”,难度非常大;骨科中心联合3D打印导板和骨科手术机器人在该类高难度手术中的应用,综合抓取两种技术的优势,同时解决了机器人在跨节段固定置钉的漂移和下颈椎内倾角度较大导致的置钉困难等关键技术难题,简化了颈椎后路长节段固定的手术流程,缩短了患者的治疗过程,同时保证了置钉的安全性和准确性,极大减轻了患者的病痛和心理负担。

此外,本次手术也同时用到了我院新引进的全透视碳纤维手术床,该手术床可以保证患者在三维CT监视下安全完成颈椎螺钉植入手术。我院骨科中心作为四川省重点学科,配备有第三代骨科手术机器人、术中三维CT机、全碳纤维手术床等设备,硬件水平居川南领先位置。在先进设备支撑下,骨科中心团队完成了本次的全国首例机器人联合3D打印技术辅助颈椎手术。

急救电话:0813-120  预约挂号电话:0813-2401126、0813-2401026 投诉电话:2300337
联系电话(传真):0813-2201981  电子邮箱:zg_120@126.com 咨询电话:0813-2102560

南湖总院:四川省自贡市自流井区紫薇路1331号  檀木林院区:四川省自贡市自流井区檀木林街19号 汇东院区:四川省自贡市自流井区丹桂大街400号
办公时间:上午8:00-12:00,下午14:30-17:30(周一至周五,节假日除外)

蜀ICP备13006683号-1Copyright © 2002-2026 四川省自贡市第四人民医院 自贡市急救中心 四川卫生康复职业学院附属医院 All Rights Reserved